电动隔膜泵的工作原理
电动隔膜泵是一种新型的泵类。近年来,由于隔膜材料的突破,已被用于石油化工,陶瓷,冶金等行业。它的特点是无需灌溉和强大的自吸能力。
电机驱动左,右柱塞上的隔膜通过减速箱一个接一个地往复运动。在左右两个泵腔中,上下四个单向球阀的隔膜的运动会引起工作室中的容积变化,从而迫使四个单向球阀交替打开和关闭,从而持续吸排液体。
电动隔膜泵用于石油化工,陶瓷,冶金等行业。该泵的主要特点是无需注满水。直径小于10毫米的颗粒,泥浆等可以轻松通过。由于隔膜将输送的介质和传动机械部件分开,因此介质永远不会泄漏,并且泵本身没有轴封,从而大大延长了使用寿命。根据不同的介质,隔膜分为氯醇橡胶,氟橡胶,丁腈橡胶等,可以完全满足不同用户的要求。
电动隔膜泵启动时不需灌入液体,因该泵有自吸能力,但其吸上真空高度亦随该泵安装地区的压力、液体的性质和温度而变化,故电动隔膜泵的安装高度也有一定限制。
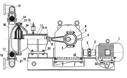
电动隔膜泵的结构图
电动隔膜泵的结构图
以上是湖南圣博凯斯水泵对电动隔膜泵的工作原理及结构图进行的总结。
