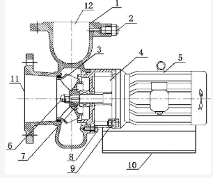
卧式节能泵(节能循环泵),该循环泵包括泵体、排气阀、叶轮、泵盖、电机、第一紧固螺丝、加长轴、紧钉螺丝、第二紧固螺丝和底座,在所述泵体的一侧设有进口,泵体的上部设有出口,排气阀设置在出口的一侧,所述进口与加长轴同轴线,所述叶轮套设在加长轴上,叶轮通过第一紧固螺丝安装在加长轴的一端,所述叶轮、加长轴、进口均同轴线设置,所述加长轴的另一端穿过泵盖与电机传动轴端相连,所述泵盖一端通过第二紧固螺丝固定连接在电机上、泵盖另一端通过紧钉螺丝连接在泵体上,电机固定在底座上。本实用新型提高了叶轮的水力效力,同时增大了有效流通面积,提高了循环泵的工作效率从而达到节能效果,稳定性好,有很好的应用前景。
注: 1.一种卧式节能循环泵,其特征在于,该循环泵包括泵体(1)、排气阀(2)、叶轮(3)、泵盖(4)、电机(5)、第一紧固螺丝(6)、加长轴(7)、紧钉螺丝(8)、第二紧固螺丝(9)和底座(10),在所述泵体(1)的一侧设有进口(11),泵体(1)的上部设有出口(12),排气阀(2)设置在出口(12)的一侧,所述进口(11)与加长轴(7)同轴线,所述叶轮(3)套设在加长轴(7)上,叶轮(3)通过第一紧固螺丝(6)安装在加长轴(7)的一端,所述叶轮(3)、加长轴(7)、进口(11)均同轴线设置,所述加长轴(7)的另一端穿过泵盖(4)与电机(5)传动轴端相连,所述泵盖(4)一端通过第二紧固螺丝(9)固定连接在电机(5)上、泵盖(4)另一端通过紧钉螺丝(8)连接在泵体(1)上,所述电机(5)固定在底座(10)上。
湖南圣博凯斯泵阀总结。
