无密封自控自吸泵的工作原理
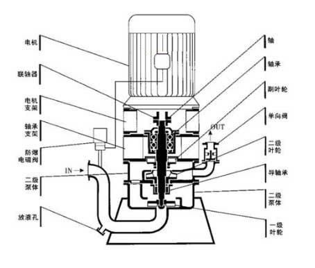
无密封自控自吸泵主要由泵体、叶轮支、泵盖、导叶、辅助叶轮、泵轴、连接架、电动空气调节阀等组成。
泵体由吸入室、储液室、气液分离室等组成。
泵正常启动后,叶轮将吸入室中的液体和吸入管路中的空气一起吸入,液体混合气体在叶轮高速旋转的离心力作用下通过导叶抛入气液分离室。
由于流量的突然下降,气体和液体的比重不同。较轻的气体从混合液中分离出来,从泵中排出。脱气后的液体再次进入工作腔,与叶轮内吸入管吸入的空气混合。在叶轮的转动下,泵体进口形成一定程度的真空,从而达到自吸的目的。
当泵装有“电动空气调节阀”时,调节阀关闭,实现密封。
由于该泵具有独特的排气功能,因此该泵可以在不安装底阀的情况下输送含液气体。
关闭后,打开控制阀,破坏吸入管路中的真空,防止泵腔中的液体因缸内吸入作用而流出吸入管路,保持泵腔中有足够的液体继续自吸过程,从而实现“一次排水、终身自吸”。
无密封自控自吸泵的原理图
无密封自控自吸泵的原理图
