自动搅匀排污泵是在普通污水泵的基础上,采用自动搅拌装置,该装置随电机轴转动,产生强大的搅拌力,将污水池中的泥沙搅拌成悬浮物,排入泵内,提高了泵的防堵和排污能力,同时完成了排水、清洗、淤积,节约了运行成本。它是具有稳定性和实用性的环保产品。注:JYWQ系列自动搅匀潜水排污泵是一种常用的自动搅拌排污泵。
自动搅匀排污泵的结构特点
自动搅匀排污泵的结构特点说明
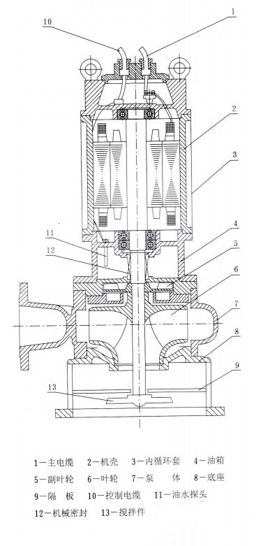
1.自动搅匀排污泵保证了水池低水位时水泵的正常运行,JYWQ系列自动搅匀潜水排污泵内有循环冷却系统。
2.采用独特的双流道无堵塞叶轮结构,提高污水的流量和排污能力。
3.叶轮结构的液力密封不仅具有辅助密封的作用,还具有保护机械密封的作用,而且平衡轴向力,延长轴承的使用年限。
4.排污泵的连接腔内没有漏水检查探头。如果漏水,探头会发出信号,控制系统会保护泵。公司可配备全自动防护控制柜。
5.电机定子采用B、F级绝缘,并设有热保护器。电动机过载发热时,保护器及时运作,对泵和电动机起到保护作用。
6.自动搅拌装置能产生强大的搅拌力,将罐内泥沙搅拌成悬浮物,然后吸入叶轮排出,从而达到疏通功能。
7.隔膜将底座分为两部分,搅拌和进水互不影响。
8.油水探头安装在油室内。当机械密封损坏时,水进入油室,探头发出的信号由控制系统保护。
9.机械密封为双面机械密封,长时间处于油室中,保证水泵可靠运行。
以上是湖南圣博凯斯泵阀对自动搅匀排污泵的结构特点进行的简要说明。
