卧式管道离心泵的结构图以及产品特点:
一、产品简介
卧式离心泵是根据IS型离心泵和立式泵的独特结构组合而设计而成的,具有出色的水力模型。同时,同时根据使用温度、介质等不同在ISW型基础上衍生出热水泵、高温泵、化工泵和油泵等。
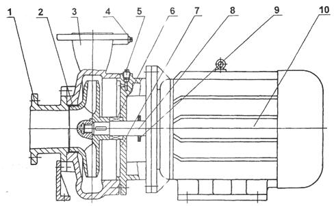
二、结构图
![]() |
1 | 吸入室,利用出色的水力模型设计而成的 |
| 2 | 叶轮,高效节能 | |
| 3 | 泵体,利用出色的水力模型设计而成的 | |
| 4 | 取压赛,安装压力表和真空表,从而监控泵是否可以正常高效的运行 | |
| 5 | 放气塞,确保泵的正常维护 | |
| 6 | 机械密封,采用不锈钢、硬质合金、氟橡胶等材料制成,耐用消费品磨损,无泄漏,运行寿命长 | |
| 7 | 泵盖 | |
| 8 | 泵轴,为电机加长轴,确保了轴的同心,使运行平稳,无噪音和振动现象 | |
| 9 | 挡水圈,防止因密封漏水而导致的电机进水 | |
| 10 | Y系列电动机:直接与离心泵连接传递动力 |

