立式离心泵拆卸前的准备
1.査阅有关技术资料及上一次的大修、中修记录,向操作工询问杲的运转情况。
2.切断电源,确保检修时的安全。
3.切断输送介质。
4.准备好工具、量具及相应的起重设备。
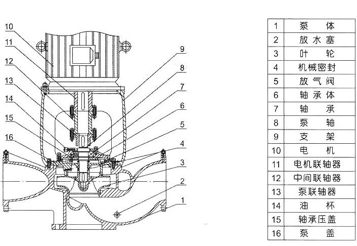
立式离心泵结构分解图
立式离心泵拆卸顺序和拆卸技术
立式离心泵的拆卸,在作好准备工作的基础上,应按以下步骤及要求进行。
1.卸下介质管路上泵的出口阀以前、进口阀以后法兰的连接螺栓,将泵从介质管路中分离。卸下冷却水管。断开泵与电动机之间的联轴器,并将其从泵轴上取下。
2.拧开泵的机座螺栓,同时,将各机座螺栓处的垫片按顺序编号,回装时仍放在原处,以减少找正工作量。
3.拆卸轴承。先拧下前后侧轴承座与泵体的连接螺栓,拆掉轴承座,然后将轴承沿轴向抽出。
4.拆卸轴封。拧下压盖与泵体的连接螺母,并沿轴向抽出压盖,取出填料或抽出机械密封。
5.拆卸平衡盘。拧下尾盖与尾段之间的连接螺母,取下尾盖,然后将平衡盘沿轴向取出。松开平衡环与泵体的连接螺钉,即可卸下平衡环。
6.长杆螺栓的拆卸。立式离心泵泵的前段、中段、尾段,由若干个长螺栓穿起来固定在一起,形成一个完整的泵体,这些螺栓又叫长杆螺栓。拧紧长杆螺栓时,使各段之间轴向密封面紧密贴合,阻止了泵腔内的压力介质向外泄漏。长杆螺栓的拧紧力过大,会造成零件损坏;拧紧力过小,则密封面泄漏。
以上是湖南圣博凯斯水泵对立式离心泵的操作步骤进行的总结。
