购买卧式离心泵时,考虑到实际工作环境,许多客户更担心如何安装卧式离心泵。关于如何安装卧式离心泵的问题,不同类型的离心泵具有不同的内部和外部结构,因此安装方法和适用的安装地点是不同的。为便于您理解,以下将简要介绍一些较常见的安装方法。
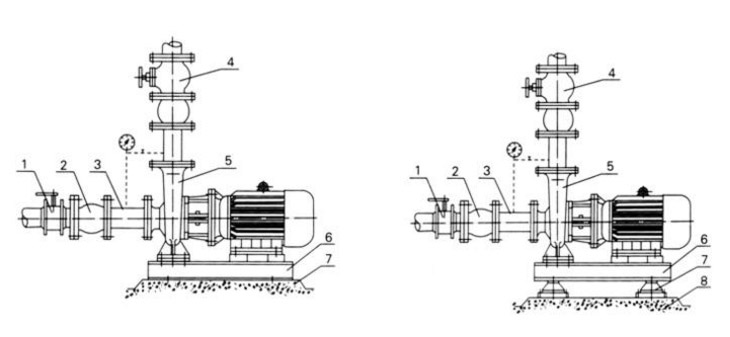
卧式离心泵安装图
卧式离心泵安装规范
1.在安装过程中,管道的重量不应承受在泵上,否则容易损坏泵;
2.卧式离心泵和马达为一体式结构,出厂前已由制造商进行过校准,安装过程中无需调整;因此,安装非常方便:
3.安装时必须拧紧地脚螺栓,并定期检查该泵,以防其松动,以免启动时振动,影响该泵的性能;
4.在安装之前,请仔细检查泵的流路中是否有硬物(例如岩石,铁砂等)影响该泵的运行,以免在运行过程中损坏流部件。
5.为了便于维护和安全使用,请在卧式离心泵的入口和出口管道上安装一个调节阀,并在该泵入口附近安装一个压力表。对于高扬程泵,为防止水锤,请在出口闸阀之前安装一个阀。仅止回阀以应对突然停电等断电事故,以确保该泵在工作条件下运行并延长泵的使用寿命;
6.用于抽水扬程的场合,应配备底阀,进水管弯头不要太多,不漏水,不漏风,以免影响抽水。 泵的性能;
7.为了防止杂质进入泵并阻塞流路,应在该泵入口之前安装过滤器。
8.在安装管道之前,请旋转水泵的转子部件。不应有摩擦或卡住。应拆卸卧式离心泵以检查原因。
