铝合金气动隔膜泵结构特点
1.铝合金气动隔膜泵不会发生过热现象,在排气时是一个膨胀吸热的过程,工作时温度是降低的,没有有害气体排出。
2.不会产生火花,不用电力工作,接地后防止了静电火花。
3.可以空转运行,不会有危险。
4.对物料的剪切力低,对物料的搅动较小,适用于不稳定物质的输送。
5.铝合金气动隔膜泵没有复杂的控制系统,没有电缆和保险丝等。
6.无动密封,有效防止泄露,维修简单方便,工作时没有死点。
7.可以通过含颗粒的液体,因为容积式工作并且进口为球阀,不容易堵塞。
8.全部的能量利用,关闭出口时,该泵自动停机。
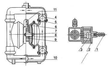
铝合金气动隔膜泵结构图
| 1 | 进 气 口 | 4 | 圆 球 | 7 | 连 杆 | 10 | 泵进口 |
| 2 | 配气阀体 | 5 | 球 座 | 8 | 连杆铜套 | 11 | 排气口 |
| 3 | 配 气 阀 | 6 | 隔 膜 | 9 | 中间支架 |
铝合金气动隔膜泵结构图
铝合金气动隔膜泵性能参数
| 型号 | 流量m3/h | 扬程m | 出口压力kgf/cm2 | 吸程m | 允许通过颗粒直径φ(mn) | 较大供 气压Kgf/cm2 |
较大空气消耗量m3/min |
| QBY-10 | 0~0.8 | 0~50 | 6 | 5 | 1 | 7 | 0.3 |
| QBY-15 | 0~1 | 0~50 | 6 | 5 | 1 | 7 | 0.3 |
| QBY-25 | 0~2.4 | 0~50 | 6 | 7 | 2.5 | 7 | 0.6 |
| QBY-40 | 0~8 | 0~50 | 6 | 7 | 4.5 | 7 | 0.6 |
| QBY-50 | 0~12 | 0~50 | 6 | 7 | 8 | 7 | 0.9 |
| QBY-65 | 0~16 | 0~50 | 6 | 7 | 8 | 7 | 0.9 |
| QBY-80 | 0~24 | 0~50 | 6 | 7 | 10 | 7 | 1.5 |
| QBY-100 | 0~30 | 0~50 | 6 | 7 | 10 | 7 | 1.5 |
