离心泵的扬程与升扬高度(举升高度)不同,泵的升扬高度是指泵将液体从低处送到高处的垂直高度。只有当泵的进出口容器都处于0.1MP,进出口管径相同及管路阻力可忽略不计时,泵的扬程才与举升高度相等。)
水泵扬程是指水泵能够扬水的高度,通常用H表示,单位是m。离心泵的扬程以叶轮中心线为基准,分由两部分组成。从水泵叶轮中心线至水源水面的垂直高度,即水泵能把水吸上来的高度,叫做吸水扬程,简称吸程;从水泵叶轮中心线至出水池水面的垂直高度,即水泵能把水压上去的高度,叫做压水扬程,简称压程。

即 水泵扬程= 吸水扬程 + 压水扬程 应当指出,铭牌上标示的扬程是指水泵本身所能产生的扬程,它不含管道水流受摩擦阻力而引起的损失扬程。在进行水泵选型时,注意不可忽略。否则,将会抽不上水来。
水泵扬程=净扬程+水头损失 净扬程就是指水泵的吸入点和高位控制点之间的高差,如从清水池抽水,送往高处的水箱。净扬程就是指清水池吸入口和高处的水箱之间的高差。
扬程通常是指水泵所能够扬水的最高度,用H表示。
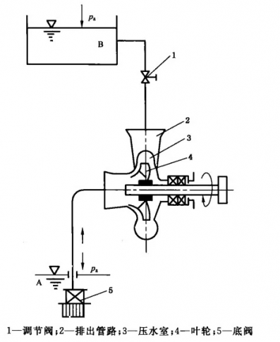
最常用的水泵扬程计算公式是:H=(p2-p1)/ρg+(v2²-v1²)/2g+z2-z1。
其中, H——扬程,m;
p1、p2——泵进出口处液体的压力,Pa;
c1、c2——流体在泵进出口处的流速,m/s;
z1、z2——进出口高度,m;
ρ——液体密度,kg/m3;
g——重力加速度,m/s2。
