前段时间对卧式多级泵的拆装步骤与拆卸图进行了简单的讲解,今天我们就来讲解多级泵拆卸图解步骤。多级泵的结构可以分为卧式多级泵和立式多级泵。结构不同拆装的方法也不太一样。以下讲解立式多级泵拆卸图解步骤。
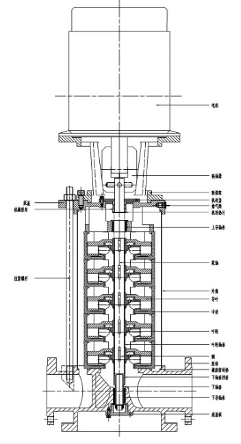
立式多级泵拆卸图
多级泵拆卸图解步骤
技术要求
1.把多级离心泵按照正确的顺序与方法进行拆卸工作。
2.在拆卸过程中应该尽量使用专用的工具。
3.禁止暴力拆卸,不能损坏零部件。
4.针对易混配合件,清洗查看后应该做好按照方位的标记或者编号保管,便于后续的组装工作。
拆卸前的准备工作
1.工具与器具的准备工作:专用扳手、吊拆机具、滑道架、旋具、手锤、木锤、铜棒、煤油、撬棍、清理清洗工具等。
2.检测量具:千分表、油标卡尺、内外径千分尺、放大镜、深度油标卡尺、平板等等。
D型多级泵拆卸图
拆卸工艺方法与步骤
1.将轴承进行拆卸。
(1)先将油箱和主油泵以及进出油管进行拆卸。
(2)将推力轴承的端盖拆下后,再把进出口端轴承盖进行拆卸,接着将止推轴承组件取出。
(3)将蜗杆套的锁紧螺母拧下后,在把D型多级泵的传动蜗杆套取出。接着拧下止推盘的锁紧螺母,接着把止推盘取出。
(4)将两端径向轴瓦取出后,在把轴承架和壳体以及封头的连接螺钉拧下,并且把轴承架取出。
轴封的拆卸
(1)将轴封压盖螺母拧掉后,沿着轴向将压盖抽出。
(2)将填料函组件或者机械密封组件取出。
将泵体的组件抽出
(1)将出口端封头法兰螺母拧下,再把平衡管法兰螺栓拆下,接着用顶丝向内拧将法兰顶松,使用起重机具把封头吊出。
(2)在不锈钢多级泵端头螺栓上安装一个滑道架,确保滑道面和外壳筒体内壁面平齐。接着用力推动轴的联轴器端,驱使泵体组件从外壳中滑移到滑架上。内件由于贴紧而出现难以推动的情况时能装上一个自制的推出器。并且利用工具上的顶丝把内泵体组件顶出。组件全部移动到外壳筒体后,可以用起重机具把组件平稳地吊放在木板上。
内泵体组件的拆卸
(1)可以用专用的弯钩扳手将叶轮的锁紧螺母拆下,接着将轴套取出。
(2)将组件的定位键螺钉拧下,再把定位键取出。
多级泵拆卸图解步骤由离心泵厂家总结,推荐阅读:什么叫多级泵?什么叫单级泵?
