离心泵自动吸水的方法有离心泵的特性、储水法、使用发动机排气抽真空充水法、泵前水柜引水法等。
离心泵自动吸水图
离心泵自动吸水的方法
离心泵的特性
自吸离心泵是我国近年来设计制造和推广使用的一种新型自吸水泵。自吸立式管道离心泵可以不用底阀,在起动前可以在泵中灌入少量的水,在起动时可以自动抽真空引水。停机后二次再起动时无需再进行灌水。使用会更加方便。近几年节能水泵公司研制的S型双吸适用于水利灌溉、水厂、纸厂、热电厂、化工厂等行业领域。用户多采用200kW以上的泵型。
储水法
储水法充水是利用一个大木通或者水缸进行储水,将其安装在立式离心泵附近,并且确保桶底稍微高出离心泵的出水口,或者在靠近泵房的一侧修建出水池过程中,把池底稍微降低,会有一个储水池形成。采用水管将桶与泵体充水孔连接起来。停机前使用出水管流出的水将桶灌满备用,等到下次起动时就能自流充水。使用储水法进行充水这种方法比较简便。
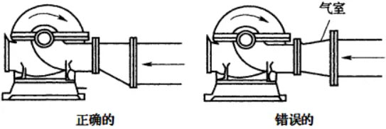
使用发动机排气抽真空充水法
使用发动机排气抽真空充水法将小型电机的柜顶为半球形突起,柜子里面装置一段吸上管,管口会低于筒身高度,柜身下面的出口和离心泵吸水管相连接。水柜初次使用前能从充水口把水柜灌满水,接着把充水口封闭。把启动消声器拆卸下来,再装上特制的废气引水装置,使用电机工作过程中将废气排出,将水泵中的空气抽走,确保立式多级离心泵有一定的真空度产生。在操作时可以先把电机发动起来,接着将废气引水装置的手把往下压紧,再将废气排出口关闭,从电机排出的废气经过废气喷射嘴排出,因为废气射流的速度比较大,压力会很低,会有吸出作用产生。见到有连续不断的汽水混合气泡出现时,多级立式离心泵就会开始吸水。接着将泵体上的充水排气孔关闭,然后将手柄提起,将废气排出口打开,离心泵就能转入正常工作。使用发动机排气抽真空充水法只能适用于小型汽油或者柴油发动机做动力的小口径水泵。
泵前水柜引水法
泵前水柜引水法能在水泵前安装一个圆筒形水柜,不锈钢离心泵运行,瞬间离心泵把柜中的水抽走,水位会渐渐的下降,容积会渐渐的增大,会有真空状态形成,还会有吸力产生,进而将吸水池的水吸到水柜中去,离心泵会继续运转,水源会源源不断地被抽吸出去。
离心泵自动吸水的方法由离心泵厂家总结,推荐阅读:立式离心泵的结构组成图
