强制循环泵结构大家都知道吗。强制循环泵是热电厂脱硫设备中关键的设备之一,所以也是需要重点维护的设备之一,强制循环泵的优点不言而喻,但是你知道强制循环泵为什么可以胜任这些工作吗,这和其特定的结构有密不可分的关系。接下来湖南圣博凯斯泵阀的小编将为大家着重介绍一下强制循环泵结构。
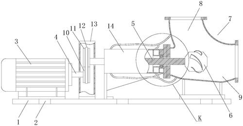
1、叶轮是强制循环泵的中心部分,高转速马力非常足,叶轮上的叶片又起到重要效果,叶轮在装置前要通过静平衡实验。叶轮一定要光滑,才可以削减水流的冲突丢失。

2、泵体也称泵壳,它是水泵的主体。这是泵体的一个容器,并与装置轴承的托架相连接。
3、泵轴的效果是借联轴器和电动机相连接,将电动机的转距传给叶轮,机械能是否传输过去可全靠他了。
4、轴承是套在泵轴上支撑泵轴的构件,有滚动轴承和滑动轴承两种。滚动轴承运用牛油作为润滑剂加油要适当一般为2/3~3/4的体积太多会发热,太少又有响声并发热。滑动轴承运用的是透明油作润滑剂的,加油到油位线。太多油要沿泵轴渗出并且漂贱,太少轴承又要过热烧坏构成事端。在水泵工作过程中轴承的温度较高在85度一般工作在60度左右,假如高了就要查找原因并及时处理。

5、密封环又称减漏环。叶轮进口与泵壳间的空位过大会构成泵内高压区的水经此空位流向低压区,影响泵的出水量,功率下降。空位过小会构成叶轮与泵壳冲突发生磨损。为了添加回流阻力削减内漏,推迟叶轮和泵壳的所运用寿命,在泵壳内缘和叶轮外援结合处装有密封环,密封的空位保持在0.25~1.10mm之间为宜
6、填料函由填料,水封环,填料筒,填料压盖,水封管组成。填料函的效果是为了封闭泵壳与泵轴之间的空位,不让泵内的水流不流到外面来也不让外面的空气进入到泵内。始终保持水泵内的真空。
以上就是为大家带来的强制循环泵结构知识,想要了解更多就请关注湖南圣博凯斯泵阀网。
